Standard type Air shower
FEATURES
The model of the best cost planning for clean room construction. High-efficiency energy-saving, ultra-clean air supply; through the high-efficiency filter, the surface dust is completely blown off.
- Strong aluminum door structure, beautiful and durable.
- The body is made of high-strength painted steel or stainless steel to avoid pollution particles.
- Using a multi-wing fan with a special airflow channel design, it can blow out a high-volume dust-blowing airflow.
- Energy-saving design, clean air supply by HEPA high efficiency filter, quickly remove surface dust.
- High static pressure, increase air velocity, save space and construction cost.
- High-brightness LED operating status indicator, graphical action description, easy to understand.
- Electronic modular control panel, intelligent single chip program control mode, stable quality.
- Equipped with AIR LOCK interlocking control, the access control is automatically confirmed to prevent cross contamination in the clean room.
※ Various sizes, specifications and any special functions can be customized.
※ There are so many kinds of customization that are not enough to be uploaded, please inquire and refer to the actual performance unit.
|Material: cold work steel plate paint / stainless steel plate
|Paint color: pearl white / ivory white
|Air flow direction: single blow / double blow / three-way blow
|Access: straight in and out / L in and out / three-way in and out
Specification
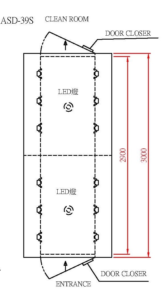
| Model | ASD-34S | ASD-35S | ASD-36S | ASD-39S |
| Number of users | 1-2 people | 2-3 people | 4 people | 6 people |
| External dimensions W*D*H (mm) |
1300*1200*2150 | 1300*1500*2150 | 1300*2000*2150 | 1300*3000*2150 |
| Internal dimensions W*D*H (mm) |
800*1100*2000 | 800*1400*2000 | 800*1900*2000 | 800*2900*2000 |
| Wind speed (m/s) | 20-25 | |||
| Air change (return/hr) | 545 | 482 | 631 | 500 |
| Number of nozzles | 16 | 18 | 32 | 36 |
| Material | Cold work steel plate baking varnish / stainless steel plate | |||
| Lighting | LED 6Wx1 | LED 6Wx1 | LED 6Wx2 | LED 6Wx2 |
| Dust collection efficiency | HEPA-Filter D.O.P.test 0.3μm at 99.99% | |||
| HEPA Size (mm) x Quantity |
610*610*50 x 2PCS | 610*610*50 x 2PCS | 610*610*50 x 4PCS | 610*61*50 x 4PCS |
| Aluminum door | Anodized aluminum door with 5mm glass with automatic door closer | |||
| Function | 1. Automatic check of access control confirmation 2. INTER LOCK automatic chain lock control |
|||
| Power consumption | 0.4W x 2SET | 0.75W x 2SET | 0.4W x 4SET | 0.75W x 4SET |
Three-view Filter Three-view









